各种各样的染色设备附设备原理图
城南二哥2022-11-16 11:35:58阻燃资讯中心902来源:阻燃布料_阻燃面料网
导读
子曰:“工欲善其事,必先利其器“。
今天,小编跟大家一起了解一下各种各样的染色设备。通常,按被染物的受染形态分为散纤维、条子、纱线、织物和成衣等五类染色机。
一、散纤染色机
1、间歇式散纤维染色机
由装料圆桶、圆形染槽和循环泵等组成(如图)。圆桶有一中心管,桶壁和中心管上满布小孔。将纤维装入圆桶,置于染槽内,放入染液,开动循环泵,升温染色。染液由圆桶中心管流出,通过纤维和圆桶壁由里向外,再回到中心管形成循环。有的散纤维染色机由一个锥形锅、染槽和循环泵组成,锥形锅的假底和锅盖上都布满小孔。染色时,将散纤维装入锅中,加盖压紧,然后置入染槽。染液经循环泵通过假底由下向上流出锅盖,形成循环进行染色。

2、连续式散纤维染色机
由加料斗、输送带、轧液辊、汽蒸箱等组成。纤维经加料斗被输送带送至轧液辊前,淋满染液,由轧液辊轧压后进入汽蒸箱。汽蒸后再行皂洗、水洗。
二、条子染色机
1、毛球染色机
属间歇式染色设备,主要结构与圆桶式散纤维染色机相似。染色时,把绕成空心球状的条子放入筒内并拧紧筒盖,染液在循环泵驱动下,自圆筒外穿过壁孔进入毛球,再从多孔的中心管上部流出,反复进行至染色完毕。
2、毛条连续轧染机
结构与连续式散纤维染色机相似,汽蒸箱一般为“J”形,附有烘干设备。
三、纱线染色机
1、绞纱染色机
主要由方形染槽、支架、载纱管和循环泵组成,属间歇式染色设备。将绞纱悬挂在支架的载纱管上放进染槽。染液在循环泵驱动下流经绞纱。有些机型的载纱管还能缓缓转动,管壁上有小孔,染液由小孔喷出流经绞纱。

(图:绞纱染色机原理)
2、筒子纱染色机
主要由圆筒形染槽、筒子架、贮液槽以及循环泵等组成,属间歇式染色设备。纱线绕在圆柱形簧管或多孔锥形管上,然后再固定于染槽中筒子架的多孔套管上。染液经循环泵流入筒子架多孔套管,然后从筒子纱的内心向外流动。间隔一定时间后再作反向流动。染色浴比一般为10:1-5:1左右。

3、经轴染色机
主要由圆筒形染槽、经轴、贮液槽和循环泵等组成,是间歇式染色设备。原用于经纱染色,现广泛用于组织疏松的织物,尤其是合成纤维经编织物的平幅染色。染色时经纱或织物被卷绕在布满小孔的空心经轴上,然后装入圆筒形染槽中。染液在循环泵作用下从空心经轴的小孔流经经轴上的纱线或织物,并定时作反向流动。经轴染色机也可以用于轻薄内衬面料的染色。

四、织物染色机
按织物染色的形态和特征分绳状染色机、卷染机、轧卷染色机以及连续轧染机等,后三种均属平幅染色设备。毛织物、针织物等容易变形的织物,大多用松式绳状染色机染色,棉织物多用平幅状染色机。
1、绳状染色机
无喷嘴的俗称拉缸,主要由染槽、圆形或椭圆形花篮滚筒组成,是间歇式染色设备。染色时织物呈松弛弯曲状浸在染浴中,经过导布辊由花篮滚筒提起,再落入染浴中。织物头尾相接,循环运行。织物在染色过程中大部时间以松弛状态浸于染浴中,所受张力较小,浴比一般为20:1~40:1。 因为浴比较大,拉缸现在逐步被淘汰。
20世纪60年代以来,绳状染色机新发展的设备类型有喷射染色机、常温溢流染色机、气流染色机等。喷射染色机是效果较高的间歇式染色设备,织物染色时所受张力较小,适用于多品种小批量的合成纤维织物染色。主要由染槽、喷射器、导布管、热交换器以及循环泵等组成。染色时织物头尾相接,由导布辊将织物从染浴中提起,依靠喷射器喷出的液流带动在导布管中前进,然后落入染槽呈松弛弯曲状浸渍在染浴中并缓慢向前移动,并由导布辊再次提起循环运行。染液由大功率泵驱动,通过热交换器,再经喷射器加速喷出。 浴比一般为5:1~10:1。下面是L型、O型、U型三种类型喷射染色机的动态原理图:

(O型)

(L型)

(U型)

(气流染色机)
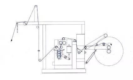
2、卷染机
是一种历史较久的平幅染色设备。主要由染槽、卷布辊、导布辊组成,属间歇式染色设备。织物先平幅卷绕在只卷布辊上,通过染液后卷绕于另一只卷布辊,当织物即将绕完时,再重新卷绕到原来的卷布辊,每卷绕一次称为一道,如此往复直到上染完毕。浴比一般为3:1~5:1。有些卷染机装有织物张力、调头和运行速度等自动控制设施,可以减小织物张力、减轻工人劳动强度。 下图是卷染机的剖面图。

3、轧卷染色机
是一种间歇和连续相结合的平幅染色机。主要由浸轧机和加热保温室等组成。浸轧机由轧车和轧液槽组成。轧车有二辊和三辊两种,轧辊成上下或左右配置,轧辊间的压力可以调节。织物在轧液槽中浸渍染液后受轧辊轧压,染液透入织物内部,多余染液仍流入轧液槽。织物进入保温室在卷布辊上绕成大卷,于湿热条件下缓缓转动堆置一定时间,使染料逐渐对纤维上染。这种设备适合小批量、多品种的平幅染色。现在很多工厂在用的冷轧堆染色用的就是这种染色机,如下图:


4、连续轧染机
是平幅连续染色联合机,生产效率较高,适合于大批量品种的染色设备。主要由浸轧、烘干、汽蒸或焙烘、平洗等单元组成。机台的组合方式决定于染料性质和工艺条件。浸轧常用二辊或三辊轧车,烘干用红外线、热风或烘筒加热,红外线加热温度均匀,但烘干效率较低。烘干后汽蒸或焙烘,使染料充分上染于纤维,后进行皂煮和水洗。热熔连续轧染联合机适用于分散染料染色。
下面是连续轧染机的流程图:

五、成衣染色机
成衣染色机适合小批量、特殊品种的成衣染色,具有灵活、方便、快捷的特点。其原理如下图:

