阻燃面料网,免费提供专业的阻燃面料产品、资讯、知识、供应商、生产厂家等等

阻燃面料网

您现在的位置是:首页>阻燃资讯中心

阻燃资讯中心

轧水机——几种常用轧水设备

城南二哥2021-03-12 11:15:35阻燃资讯中心798来源:阻燃布料_阻燃面料网

1.小直径轧辊 为了提高轧水效率,取得较低的轧余率,可通过减小轧辊直径来获得。在同样的压力下,较小直径的轧辊,可以获得较大的线压力与轧点压强。但是,小直径轧辊的刚度也小,易造成轧液的不均匀。在三辊轧车中,可采纳小轧辊配在中间的形式加以克服。在两辊轧车中,则可通过改进加压方式加以克服。 2.气袋均布加压式轧车

图3-12所示是气袋均布加压式轧车示意图。轧车顶部有一只气袋。当压缩空气进入气袋后,迫使气袋向下膨胀,通过双排支承座及多个小压力辊,使小直径的上轧辊加压。这种轧车的轧余率可比普通轧车降低20%左右。而且,轧液比较均匀,压力波动也小。其缺点是加压与卸压的动作比较缓慢,且上轧辊表面易被压力辊磨损。 3.水压式轧车

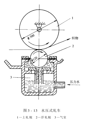
图3-13所示是水压式轧车示意图。其上轧辊为橡胶辊,固定于机架,下轧辊是一只浮在水面上的小直径辊,称为浮压辊,用尼龙材料制成。利用水压系统,将浮压辊均匀地压向上轧辊。这样,小直径的浮压辊就不会产生挠度。但是,由于需要配备一套水压系统,密封件又易磨损,因此,水压式轧车现在较少使用。 上述几种轧水机都是依靠轧车的轧压作用,把水分从布料中排解。这种轧压作用能排解的大部分是布料表面的水分,至于纤维或纺纱线空隙中的水分,则只能排解小部分。因此,单纯靠增大轧点压强来降低轧余率是有限度的。为了进一步提高轧水效率,浮现了使用吸或吹的办法来排解更多水分的新型轧辊与轧车,这就是微孔弹性轧辊与压缩空气喷射式轧车。 4.微孔弹性轧辊 微孔弹性轧辊是一种由涂胶纤维薄片经压制而成的高效轧水辊。在同样的条件下,它的轧余率可比一般橡胶轧辊降低13%以上。

微孔弹性轧辊的轧水机理如图3-14所示。由于辊体微孔的毛细管作用,当弹性轧辊和布料接触时,面料中的水分被吸到微孔中。同时,由于辊体具有较好的弹性,当布料进入轧点至轧点中点(图中ao段)时,微孔中水分及空气被压出,且轧辊对布料纺纱线间的水分进行挤压;当面料进入轧点中点至出轧点(图中ob段)时,轧压力减小,辊体归弹,微孔扩张恢复,形成局部负压,布料中的水分被吸到微孔中,大大降低了轧余率。 为了使微孔弹性轧辊延续工作,必须将吸入微孔中的水分及时排出,图3-15为其延续轧水的示意图。在微孔弹性轧辊轧点的另一侧,安装一根附加挤压辊,用它即可将轧辊微孔中的水分预先挤压排解。微孔弹性轧辊不仅可提高轧水效率,而且由于轧压力较低,对加工布料与轧辊自身的损伤很小,尤其适用于针织物物等不宜承受高压的面料。但是,随着使用时间的增添,轧辊的弹性将会逐渐减低,影响轧余率。其它,由于轧辊微孔吸水需用肯定时间,因此,限制了车速的提高。

图3-16所示为一种均匀高效轧水机。它是把微孔轧辊和均匀轧辊搭配使用组成的三辊卧式轧车。根为小直径(169)均匀轧辊,第二根为微孔弹性辊,第三根为直径较大(240)的一般轧辊,既做承压辊,减小弹性辊挠度,又做附加挤压辊,去除微孔中的水分。 5.压缩空气喷射式轧车 图3-17所示的压缩空气喷射式轧车,是一种轧压加喷吹的新式轧水机,具有轧水效率高与轧液均匀的特点。它由上、下两根反向归转的主动橡胶辊及两根被动的小直径不锈钢辊构成一个密封区,通入压缩空气。轧水时,面料上的水分随压缩空气一同呈水珠状喷射出去,大大提高了轧水效率。 这种轧车轧余率低,轧液均匀,渗透性好,可幸免面料轧伤,并能改善布料的手感与饱满度。 因此,对提高产品质量有肯定的作用。但是由于轧车气密性要求高,创造与安装的精度也较高,使这类轧车的应用受到了肯定的限制。

AAANHJJGHSFW